Thursday April 2026

হটলাইন

কনটেন্টটি শেষ হাল-নাগাদ করা হয়েছে: মঙ্গলবার, ১৬ সেপ্টেম্বর, ২০১৪ এ ০৯:৫১ AM

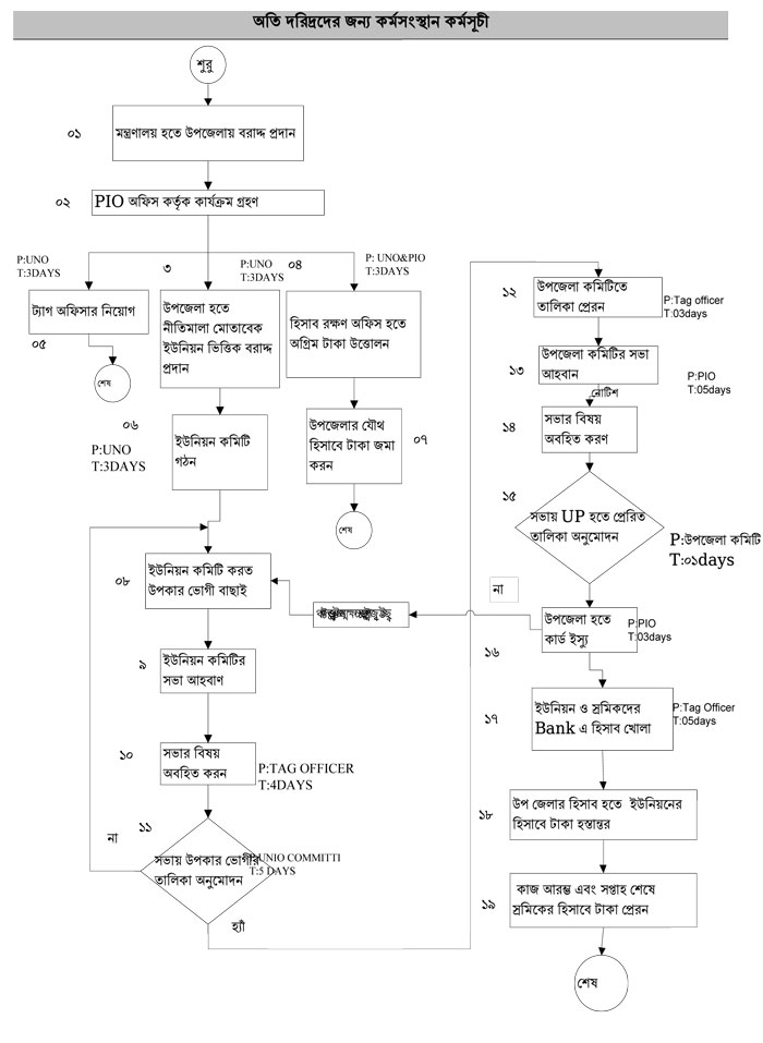
PIO-Process-Map-(Repaired)

কন্টেন্ট: সেবা এবং ধাপ

ফাইল ১

এক্সেসিবিলিটি

স্ক্রিন রিডার ডাউনলোড করুন